Single coils 3 fils ?

jdiogon
  • Special Méga utilisateur
  • #1
  • Publié par
    jdiogon
    le
Salut !

Sur ma strat équipée d'un switch S-1 (voir ce post), je voudrais juste changer les micros pour voir un peu, mais en conservant les possibilités.

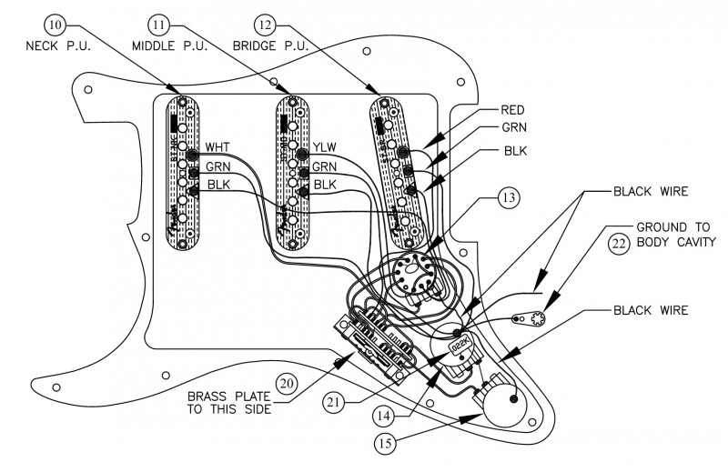
Le schéma de chez Fender :


Et donc pas tout décâbler mais "juste" remplacer au niveau des micros.

Du coup, est-ce que quelqu'un saurait me dire quels sont les micros (autres que Fender) qui existent en 3 fils pour les remplacer (et une petite description / un petit avis au passage) ?

Ou alors c'est une connerie ça n'a aucun sens ?

En ce moment sur accessoires et Lutherie...