Switching pour changer le mode du canal saturé

Rappel du dernier message de la page précédente :
littleguitar
il avait pas l'air chaud lorsque je lui en ai parlé...
(L'octopus est un switcher midi et plus troublant, le pédalier Mesa vendu avec la tête possède des....led )
Tubes, what else !
TheSoulsRemain
littleguitar a écrit :
il avait pas l'air chaud lorsque je lui en ai parlé...
(L'octopus est un switcher midi et plus troublant, le pédalier Mesa vendu avec la tête possède des....led )


oui je connais le rockman, mais moi j'ai 4 CFX Axess...et le pédalier est pas connecté au même endroit.


https://store.mesaboogie.com/p(...)ption
littleguitar
Merci pour la photo mais çà ne m'explique pas comment faire, me faudrai un crevard à la main bref.

Je vais tenter avec mon octopus, j'ai aussi un Axcess mais il ne gère qu'une fonction footswich..
qui entre parenthèse, possède des led et me change pour l'instant, les canaux sur cet ampli depuis un bail sans le moindre souci.

Il y a largement de quoi passer 2 fils par un des angles du chassis sans faire de "carna/perçage" qui
m'amèneront un mini jack femelle 3.5 à l'extérieur pour y relier le H de l'octopus qui possède un relai...

Du coup, je ne comprends pas vraiment le problème que celà pourrait engendrer puisque le pédalier
d'origine a des leds sur la serie 2 du single recto.



Cette histoire de résistance augmentée par le fil comment dire 0,023 Ohms au mètre (je racontais des bourdes) pour du 0.75mm.

Mais j'avoue volontiers ne pas connaitre grand chose en elec....
Tubes, what else !
TheSoulsRemain
littleguitar a écrit :
Merci pour la photo mais çà ne m'explique pas comment faire, me faudrai un crevard à la main bref.

Je vais tenter avec mon octopus, j'ai aussi un Axcess mais il ne gère qu'une fonction footswich..
qui entre parenthèse, possède des led et me change pour l'instant, les canaux sur cet ampli depuis un bail sans le moindre souci.

Il y a largement de quoi passer 2 fils par un des angles du chassis sans faire de "carna/perçage" qui
m'amèneront un mini jack femelle 3.5 à l'extérieur pour y relier le H de l'octopus qui possède un relai...

Du coup, je ne comprends pas vraiment le problème que celà pourrait engendrer puisque le pédalier
d'origine a des leds sur la serie 2 du single recto.



Cette histoire de résistance augmentée par le fil comment dire 0,023 Ohms au mètre (je racontais des bourdes) pour du 0.75mm.

Mais j'avoue volontiers ne pas connaitre grand chose en elec....


le problème c'est pas les ohms du câble c'est les mA de la LDR.

On t'a tous expliqué (Rivera, Oldamp, Manu et moi) comment faire et on t'a tous dis exactement la même chose.
littleguitar
Oui ils m'ont tous dit de rajouter un relai et j'ai bien compris pour la conso de la led.

Je me doute bien que la meilleure soluce serait d'aller voir un tech mais le relai du jack H
de l'octopus il sert à quoi ???

"The manual mentions that channel H has a relay - in case you want to switch something with a voltage difference issue"
Tubes, what else !
TheSoulsRemain
littleguitar a écrit :
j'ai bien compris oui pour la conso de la led et je me doute bien
que la meilleure soluce serait d'aller voir un tech.



Sinon tu retires un jacks qui sert à rien et tu mets un jack relié au switch.
littleguitar
je ne peux pas ils sont tous sur PCB.

Tiens d'ailleurs, il s'est servi de quoi sur la tremo pour sortir la commande ?
Tubes, what else !
TheSoulsRemain
littleguitar a écrit :
je ne peux pas ils sont tous sur PCB.

Tiens d'ailleurs, il s'est servi de quoi sur la tremo pour sortir la commande ?



C'est un trou bouché et inutilisé

tvo relai
littleguitar
ok je ne m'en rappelais pas.
Tubes, what else !
Transistorix
Bonsoir,

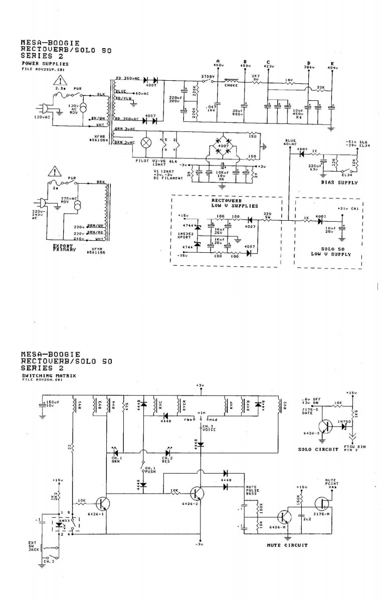
Pages 5 et 10


Sur l'alim de cet ampli on n'a pas du 6,3 Volts mais du (+3,2)-X-(-3,2), ce qui n'est pas tout à fait la même chose.
Cette tension est déjà redressée filtrée pour le circuit de chauffe de la 12AX7 du préampli.
Alors, il faut faire attention à ne pas mettre de dawa là dedans.

Ceci dit, on dirait que le bitonio bleu ne commande que des relais.
Il n'y a pas d'optocoupleur merdique là dedans.
Donc aucun souçi avec la résistance des câbles et les mA.

Pour moi un relais n'est pas indispensable...

Tx
Viva Arverna liura !
littleguitar
Merci pour ton avis étayé par la lecture du schéma !

Sans y connaître grand chose, je n'avais pas non plus trouvé le 6.3 V en cherchant les infos sur les transfo
de cet ampli.
Tubes, what else !
Transistorix
Je te remercie de me remercier.

Ce n'est pas très compliqué à réaliser.
Il faut simplement comprendre que le circuit de commande doit être parfaitement isolé de la masse.
-Footswitch avec un câble dont le blindage n'est pas connectée à sa carcasse.
-Socle Jack en plastique à 3 coupures parfaitement isolé de la masse.

On peut même rajouter une Led Rouge/Vert par inversion de polarité pour indiquer le canal en service.
Tout ceci se trouve sur le WWW à des prix dérisoires.

Le plus difficile c'est de réaliser les percages du Boogie sans faire une grosse signature.

Et ensuite les soudures.

Si on n 'a pas trop l'habitude, il faut s"entrainer.

Tx
Viva Arverna liura !
littleguitar
comme évoqué précédemment, seuls les modes Raw et Vintage m'intéressent.
Je n'ai pas non plus besoin d'un rappel par une led, mes oreilles me suffisent
et de toutes manières, ce sera programmé.

Pas de perçage non plus, je veux juste faire ressortir le jack plastoc :
jacques

par un des coins du chassis (la tête ne bougera pas).

Pour ce qui est de la soudure à l'étain, mon 1er Weller date de 1985
et je sais également qu'il ne faut surtout pas mettre ses pattes à certains endroits.....
Tubes, what else !

En ce moment sur ampli et préampli guitare...