[Help] Changer un jack

Forum Vox
Forum
  • #1
  • Publié par
    Lekan
    le
Bonjour,

Suite à un dysfonctionnement, j'ai entrepris de changer le jack casque de mon ampli VT15. Seulement, il s'agit d'un modèle de jack que je ne retrouve nulle part : celui-ci a 7 connecteurs (2*3 en symétrie + un 7e), donc je suis bien embêté.

D'où mes questions :
- L'un d'entre vous a-t-il déjà fait cette réparation sur un VT15 ?
- Dans le cas où je ne retrouverais pas le modèle de jack, comment puis-je le remplacer par un autre ? En gros, comment puis-je brancher 7 câbles à un composant qui a 6 ou 8 connecteurs ?

(par ailleurs, quitte à ne pas remettre le même jack, j'aimerais mettre un jack 6.35)

Merci beaucoup de votre aide !
corto30
  • #2
  • Publié par
    corto30
    le
salut, j'ai jamais fait sur un vt mais c'est du standard me semble-t-il..
c'est celui de droite sur la photo ?


input pcb vt 15..50
Nutrisco et Extinguo
Zeman
  • Special Supra utilisateur
  • #3
  • Publié par
    Zeman
    le
quand tu parles du jack, tu as une idée si c'est un problème avec la prise (aussi appelée "embase") ou avec les composants derrière ?
Dans le premier cas, il faut juste retrouver une embase similaire (les pattes au même endroit) et la souder à la place. Si tu veux en mettre une en 6.35, elle ne passera pas en profondeur, donc il faudra déporter le circuit.
Si c'est bien celui de la photo de corto où il y a aussi le jack instrument dessus, il faudra bidouiller. En gros, il faudra séparer les deux parties et relier le nouveau jack aux bornes du circuit où était connecté l'ancien par des fils. Rien de méchant.
Tu peux poster une photo de ce que tu as démonté ?
  • #4
  • Publié par
    Lekan
    le
Bonsoir à tous les deux,

Merci pour vos réponses !

Corto, cela y ressemble beaucoup mais ce n'est pas tout à fait ça (photos plus bas), en tous les cas cette référence me met déjà sur la bonne piste !

Zeman, c'est bien l'embase que j'essaie de changer, sauf que face à l'impossibilité de trouver la même, je me dis qu'effectivement je pourrais déporter une embase de 6.35. Mon seul problème est que je ne saurais pas de quelle manière connecter les câbles : si mon embase initiale avait 7 pattes, j'imagine que je suis obligé d'en remettre une à 7 pattes ? Ou bien y a-t-il une astuce ?

Merci par avance

Et donc les photos de l'embase que je cherche à remplacer et du circuit :


Circuit


Jack
corto30
  • #5
  • Publié par
    corto30
    le
salut tu l'as dessoudé proprement, tu vas probablement avancer avec le dessin ci-dessous
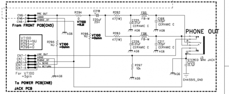
attention c'est un schéma commun à toute la série vt alors vérifie si ça colle. Pas besoin de 7 pattes, 5 suffisent et tu auras du mal à trouver la même embase avec les pin sur le côté..
pour confirmer que ta panne vient bien de là, tu peux remonter sans jack en shuntant le phone detect.
p.s un adaptateur 3.5/6.35 coupe la sortie hp même si le casque est débranché.. du vécu !


headphone out
Zeman
  • Special Supra utilisateur
  • #6
  • Publié par
    Zeman
    le
corto me corrigera si je me trompe, mais sur les 5 ou 7 pattes, certaines servent uniquement à solidariser l'embase sur le circuit, un jack n'a besoin que de 3 contacts. Parfois plusieurs pattes correspondent au même contact, ou une est utilisée pour ouvrir un contact quand le câble est débranché.
Avec une photo de l'autre face du circuit, je pourrai te confirmer ce que tu dois relier.
  • #7
  • Publié par
    Lekan
    le
Merci encore à vous deux .

Pour le schéma de circuit, je vais essayer de décrypter ça !

Voici l'autre face du circuit ; comme vous pourrez le constater, la déssoudure a été un peu dure de ce côté :

Circuit


Ce serait top si je pouvais mettre un jack avec 3 ou 5 pattes, mon problème serait résolu !
Zeman
  • Special Supra utilisateur
  • #8
  • Publié par
    Zeman
    le
on ne voit pas hyper bien, la partie utile était à l'ombre (tu avais un reflet gênant sinon peut-être), plus ça a bien chauffé. Les photos manquent un peu de netteté aussi. Si tu les fais avec une bonne lumière, en appuyant la main qui tient le téléphone à quelque chose de fixe, pour ne pas bouger, je pense qu'on peut voir beaucoup mieux. Je n'arrive pas à recompter les pattes sur l'embase.

Je crains que tu ne puisses déporter le circuit en arrière, vu que les deux côtés sont interconnectés (ou alors tu devrais aussi mettre des fils depuis le jack instrument, mais plus rien ne tiendrait le circuit).
C'est peut-être tout de même possible de mettre un 6.35 casque en tournant le circuit un peu par rapport à l'axe du jack instrument, s'il y a de la place autour.
  • #9
  • Publié par
    Lekan
    le
En effet pour la qualité moyenne, j'en reprendrai une meilleure en rentrant ce soir.

Oui, pour le jack déporté je pense mettre des câbles et le mettre ailleurs sur l'ampli (peut-être à l'arrière, ou le faire passer par la grille d'aération je verrai).

Merci !
Zeman
  • Special Supra utilisateur
  • #10
  • Publié par
    Zeman
    le
corto30 a écrit :
un adaptateur 3.5/6.35 coupe la sortie hp même si le casque est débranché.. du vécu !

oui, c'est purement mécanique

D'après ton schéma, il y a deux contacts actionnés par la présence du jack dans la prise. Je pense qu'ils sont "normalement fermés", à vérifier. Cela signifierait qu'il y a bien besoin de 7 contacts, donc une prise de ce genre :

https://www.buymystuff.co.uk/2(...)cket/
corto30
8O t'as dessoudé à la lance thermique ou au chalumeau ??! ou alors c'est la photo ?
si les pistes sont pas détruites, la réparation est possible, le jack cité par zeman convient faut le cabler comme sur le schéma, en suivant les pistes sur le circuit imprimé pour trouver les contacts. je suis pas sur que ça existe en 6.35 ce type de jack (ceux que j'utilise n'ont pas les contacts séparés).
si les pistes sont mortes la carte est en vente dans les 20 balles sur tubetown, dispo à vérifier.
courage !
Nutrisco et Extinguo
oldamp
  • Vintage Méga utilisateur
  • #12
  • Publié par
    oldamp
    le
Hum... J'espère que les petits CMS n'ont pas trop soufferts du chalumeau Sinon c'est mort ! Le plus simple serait de trouver la plaque complète chez une station technique VOX...
  • #13
  • Publié par
    Lekan
    le
J'ai fait ça avec un fer à souder 40W

Voici à quoi ressemble le circuit avec une meilleure netteté et une meilleure lumière :



Je vais regarder si le même circuit que le mien est disponible sur tubetown. Je pensais que changer le jack serait beaucoup plus simple, mais là je commence à envisager la solution de facilité
corto30
rip pour moi y'a trop de mal, ou alors faut être magicien..

https://www.tubeampdoctor.com/(...)/vt50

pour dessouder un composant à plus de deux pattes j'hesite pas à le destroy à la pince coupante (pas au coupe boulon je précise ) et ensuite retirer les pattes une à une au fer.. c'est pas toujours possible, les cartes sont conçues pour être fabriquées par des robots, pas pour être réparées par des humains :pleurs:
Nutrisco et Extinguo
oldamp
  • Vintage Méga utilisateur
  • #15
  • Publié par
    oldamp
    le
T'embête pas ! prends la carte chez TAD ! et non Tubetown....

En ce moment sur ampli et Vox...